Dodaj produkty podając kody
Stożek wrzeciona DIN 2080

Stożek wrzeciona DIN 2080 – charakterystyka techniczna i pełny przewodnik dla użytkowników CNC
Czym jest stożek wrzeciona DIN 2080?
Stożek wrzeciona DIN 2080 to klasyczny europejski standard mocowania narzędzi, stosowany głównie w:
frezarkach konwencjonalnych,
wiertarkach współrzędnościowych,
starszych centrach obróbczych,
maszynach bez automatycznej wymiany narzędzi (bez ATC).
Norma DIN 2080 definiuje geometrię oraz sposób mocowania narzędzi w wrzecionie i obejmuje typy stożków ISO30, ISO40, ISO50 i ISO60. To konstrukcja bardzo trwała i prosta, dzięki czemu do dziś jest szeroko stosowana w wielu zakładach mechanicznych i narzędziowniach.
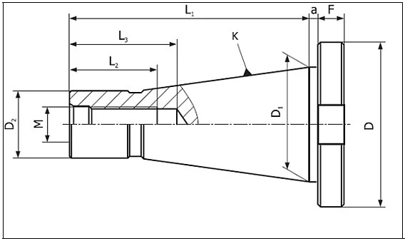
Budowa i geometria stożka DIN 2080

| Typ stożka | K | a [mm] | B [mm] | D [mm] | D1 [mm] | D2 [mm] | F [mm] | L1 [mm] | L2 [mm] | L3 [mm] | L4 [mm] | M |
|---|---|---|---|---|---|---|---|---|---|---|---|---|
| ISO30 | 30 | 1,6 | 16,1 | 50 | 31,75 | 17,4 | 8 | 68,4 | 24 | 33,5 | 16,2 | M12 |
| ISO40 | 40 | 1,6 | 16,1 | 63 | 44,45 | 25,3 | 10 | 93,4 | 30 | 42,5 | 22,5 | M16 |
| ISO50 | 50 | 3,2 | 25,7 | 97,5 | 69,85 | 39,6 | 12 | 126,8 | 45 | 61,5 | 35,3 | M24 |
Stożki DIN 2080 korzystają z geometrii 7/24, czyli klasycznego stożka o pochyleniu 7 mm na 24 mm długości. Zapewnia to:
łatwe wsuwanie i wysuwanie narzędzi,
dobre centrowanie,
dużą stabilność podczas frezowania.
Charakterystyczne cechy konstrukcyjne DIN 2080:
1. Brak symetrycznego kołnierza (jak w BT)
Stożek DIN 2080 jest prostszy konstrukcyjnie niż DIN 69871 czy BT – bez identyfikacyjnych rowków i bez kołnierza do ATC.
2. Mocowanie narzędzia za pomocą długiej śruby ściągającej (tzw. "ciągu")
W oprawkach DIN 2080 gwint ściągający jest umieszczony w tylnej części narzędzia. Rozmiary gwintów zależą od wielkości stożka:
ISO30 – M12
ISO40 – M16
ISO50 – M24
ISO60 – M36
Śruba ta jest dokręcana ręcznie lub kluczem.
3. Rowek napędowy w kołnierzu
Rowek ten umożliwia przenoszenie momentu obrotowego z wrzeciona na oprawkę i zapobiega ślizganiu się narzędzia.
Wymiary i rodzaje stożków DIN 2080
| Typ stożka | Średnica kołnierza (mm) | Długość całkowita (mm) | Gwint ściągający |
|---|---|---|---|
| ISO30 | 31,75 | 70 | M12 |
| ISO40 | 44,45 | 100 | M16 |
| ISO50 | 69,85 | 150 | M24 |
| ISO60 | 101,6 | 239 | M36 |
Najczęściej stosowane w warsztatach i frezarkach konwencjonalnych są:
ISO40 DIN 2080
ISO50 DIN 2080
Dlaczego stożek DIN 2080 jest nadal chętnie używany?
1. Prostota i trwałość
Stożki DIN 2080 są praktycznie bezawaryjne – to jeden z najprostszych systemów mocowania narzędzi.
2. Idealne do maszyn manualnych i półautomatycznych
Przy maszynach bez systemu ATC mocowanie DIN 2080 jest najbardziej praktyczne.
3. Stabilność przy ciężkiej obróbce
Długi gwint ściągający oraz prosta konstrukcja zapewniają bardzo solidne trzymanie narzędzi, co sprawdza się w:
frezowaniu czołowym,
frezowaniu zgrubnym,
wierceniu dużymi średnicami,
obróbce stali i żeliwa.
4. Duża dostępność oprawek i cena
Oprawki DIN 2080 są bardziej ekonomiczne niż BT czy DIN 69871, a jednocześnie trwałe.
Zastosowanie stożka DIN 2080 w obróbce metalu
Stożki DIN 2080 wykorzystuje się w:
frezarkach konwencjonalnych FWA, FWD, FN,
maszynach narzędziowych produkcji polskiej (Avia, Jafo, Andrychów),
maszynach niemieckich, czeskich i austriackich starszej generacji,
centrach obróbczych bez automatycznego magazynu narzędzi,
obrabiarkach warsztatowych i edukacyjnych.
Najczęstsze oprawki dostępne w normie DIN 2080:
uchwyty tulejek ER (ER32, ER40, ER25),
uchwyty do wierteł,
oprawki Weldon (płaskie),
oprawki do frezów trzpieniowych,
frezy na stożku Morse’a (z adapterami DIN 2080),
uchwyty zaciskowe i hydrauliczne (w rzadkich przypadkach).
DIN 2080 a współczesne standardy mocowania – porównanie
| Cecha | DIN 2080 | DIN6981(SK) | BT MAS403 | HSK |
|---|---|---|---|---|
| Przeznaczenie | maszyny konwencjonalne | CNC Europa | CNC Azja | CNC high-end |
| Zalety | prostota, trwałość, niska cena | mocny, sztywny | idealny do HSM | najwyższa precyzja |
| Symetria osiowa | brak) | ❌ (asymetryczny ) | Pełna | ✅ |
| Zastosowanie | Europa | Europa | USA | Japonia, Azja |
W praktyce:
DIN 2080 jest najlepszy do metod tradycyjnych,
DIN 69871, BT i HSK są przeznaczone do nowoczesnych CNC z ATC.
Oznaczenia oprawek DIN 2080 – jak je czytać?
Przykład:
ISO40 DIN2080 ER32-70
Znaczy to:
ISO40 – wielkość stożka,
DIN 2080 – norma wykonania,
ER32 – system tulejek,
70 – długość robocza oprawki.
Zalety stożków DIN 2080
✔ bardzo wysoka trwałość
✔ idealne do frezarek konwencjonalnych
✔ ekonomiczne i łatwe w utrzymaniu
✔ duża stabilność przy ciężkiej obróbce
✔ łatwa dostępność części i oprawek
✔ brak skomplikowanych elementów – pewne mocowanie
Wady stożków DIN 2080
❌ brak współpracy z automatyczną wymianą narzędzi
❌ wyważenie gorsze niż w BT lub HSK (nie do HSM)
❌ manualna wymiana narzędzi wydłuża cykl obróbczy
❌ mniej precyzyjne w pracy przy dużych prędkościach
Podsumowanie – kiedy stosować stożek DIN 2080?
Stożek wrzeciona DIN 2080 to standard idealny dla maszyn:
konwencjonalnych,
manualnych,
półautomatycznych,
edukacyjnych,
starszych centrów CNC.
Jeśli Twoja obróbka nie wymaga automatycznej wymiany narzędzi ani obrotów powyżej 6–8 tys. rpm, DIN 2080 jest rozwiązaniem tanim, pewnym i wyjątkowo trwałym.
To system, który – mimo swojej prostoty – od dziesięcioleci zachowuje ogromną praktyczność w zakładach mechanicznych i narzędziowniach.
